所谓的分动箱,是一种将发动机的功率分配,分别输出到前轴和后轴的装置。由此看来,分箱其实是四轮驱动汽车的配件。随着四轮驱动技术的发展,拆箱也不断变化,逐渐形成了不同风格的拆箱,在不同的诉求上配合四轮驱动,其基本原理和功能也不同。

传动比
| 减速 | 0.673 | 0.740 | 0.813 | 0.891 | 0.977 |
| 增速 | 1.486 | 1.351 | 1.230 | 1.122 | 1.024 |



作者:越新机械 发布时间:2021-03-24 11:21:14 浏览次数 :
所谓的分动箱,是一种将发动机的功率分配,分别输出到前轴和后轴的装置。由此看来,分箱其实是四轮驱动汽车的配件。随着四轮驱动技术的发展,拆箱也不断变化,逐渐形成了不同风格的拆箱,在不同的诉求上配合四轮驱动,其基本原理和功能也不同。

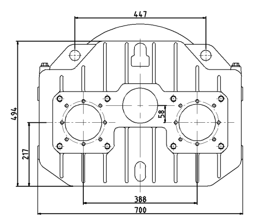
传动比
| 减速 | 0.673 | 0.740 | 0.813 | 0.891 | 0.977 |
| 增速 | 1.486 | 1.351 | 1.230 | 1.122 | 1.024 |

